丅ds测试笔是什么原理_ds是什么车
原理图集原理 2025-02-05 15:44
卫计委 常规水质监测必检42项指标不含苯
网络通信产品 求购信息
高精度锂电池监测芯片DS2762的原理及应用
电感是什么,电感的工作原理分析,电容引火和电感引火的区别
国产TDS水质检测笔质保一年正品销量 水处理行业专用检测水质仪器
用如图甲所示的刻度尺测量铅笔的长度,该刻度尺的分度值为 ,所测铅笔的长度为 cm 图乙是停表
图 1 所示是用 测铅笔长度.其中读数方法正确的是 .图 2 所示的仪表名称是 .家庭电路中.该仪表应接在总闸刀开关之 . 题目和参考答案 青夏教育精英家教网
用40张图片描述各种传感器的工作原理,重点是全都是GIF动图
奥林巴斯录音笔DS 40型使用说明书
奥林巴斯录音笔DS 40型使用说明书
奥林巴斯录音笔DS 10型使用说明书
数字音频D A转换器的动态性能测试技术
十八型人格测试题 理想型人格特征
特价德国费斯托接近开关性能好 SME 10M DS 24V E 2 5 L OE
嘉定 小明同学在做 用电流表 电压表测电阻 的实验中,电源电压保持不变 所用电压表 0 15伏 量程损坏,但 0 3伏 量程完好 所用滑动变阻器上标有 20W 2A
科普 手机摄像头技术结构与原理
电池温度智能监测系统设计与实现 全文
激光笔与遥控器的原理是怎样的有什么区别
蜡笔硬度抗折力的检测方法
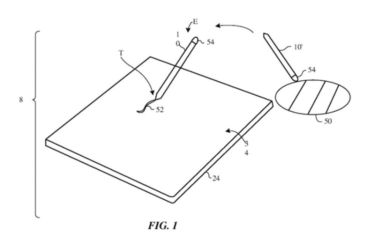
苹果笔新专利 可对物体取色
光电二极管的种类

















