电视的彩色是什么原理_上环是什么原理图片(2)
 原理图集原理 2025-03-01 11:33
        采用IGBT电路设计光纤发送器布线图
康佳P29ST217型高清数字CRT彩色电视机电路原理图
彩色电视机原理的图书目录
量子电脑还没谱,量子点电视先来凑热闹──解构 LCD OLED 与量子点基本原理
知识普及 NTSC制 图
FPGA的数字电视信号发生器原理及设 FPGA ASIC技术
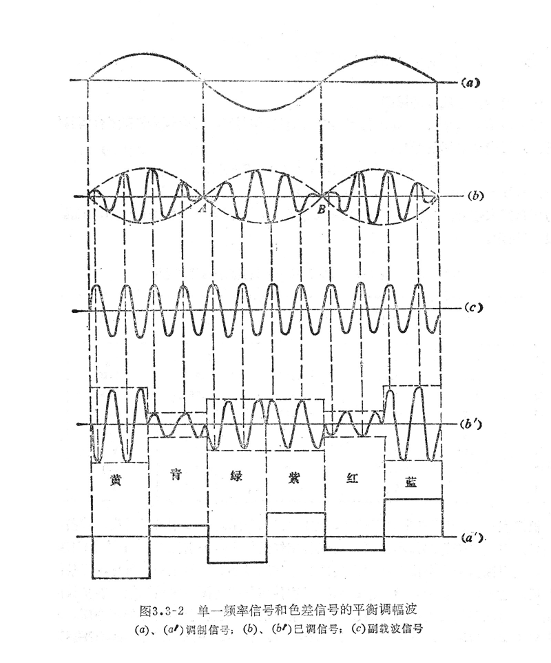
彩色电视信号
康佳彩色电视机电路原理图T2569A型
创维数字电视680HD机芯原理
你真的以为手机屏幕有了DC调光就能护眼了么
LED OLED和AMOLED, 购买手机时到底该选择那种
液晶的几种模式的工作原理
松下S12机芯彩色电视机开头电源电路原理图
彩色电视接收机原理与实践
 












